首頁 -> 內地
大連萬達集團新增被強執超24億元 累計超76億分享到:
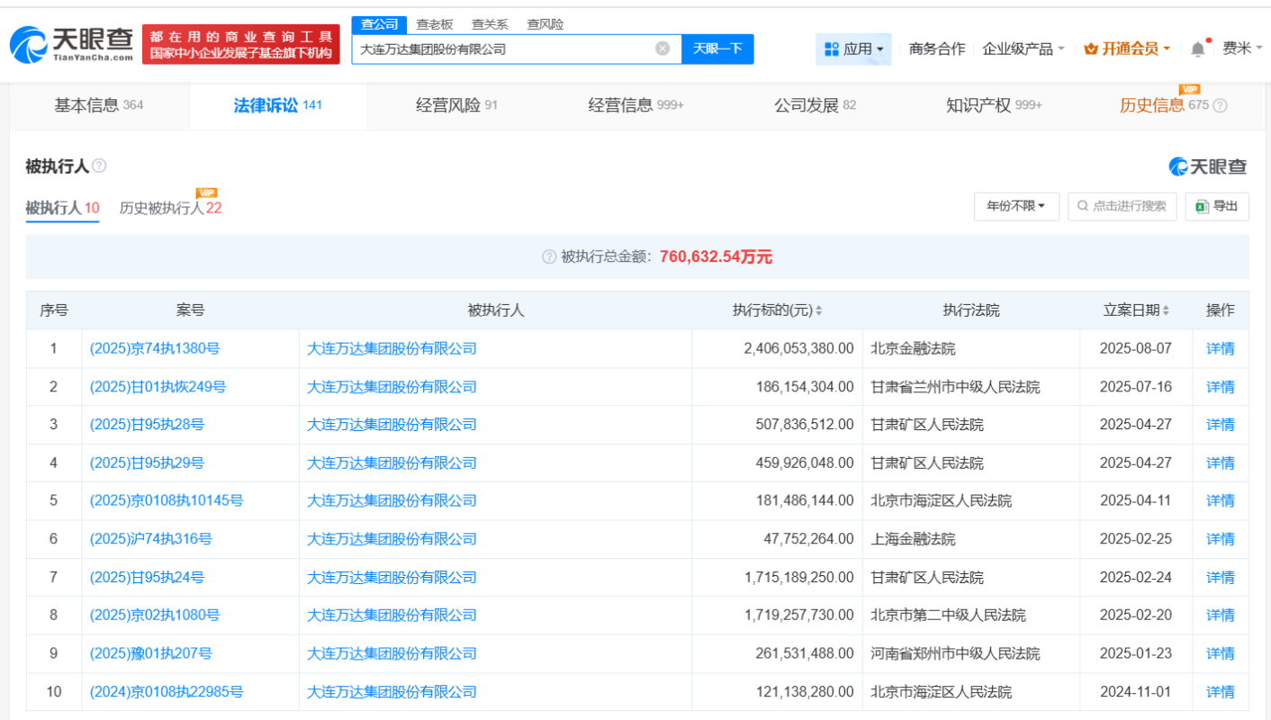
香港中通社8月11日電 8月11日,中國大連萬達集團股份有限公司新增一則被執行人信息,執行標的24億餘元人民幣,執行法院為北京金融法院。
天眼查截圖 天眼查風險信息顯示,大連萬達集團現存10條被執行人記錄,累計被執行金額已超76億元。此外,該公司還存在多條股權凍結信息。 資料顯示,大連萬達集團股份有限公司成立於1992年9月,法定代表人為王健林,註册資本10億人民幣,經營範圍包括商業地產投資及經營、酒店建設投資及經營、連鎖百貨投資及經營等,由大連合興投資有限公司、王健林共同持股。 為緩解債務壓力,萬達集團2025年已先後出售多個萬達廣場。據不完全統計,2023年至2024年,王健林已陸續出售超過30座萬達廣場。今年以來,這一出售節奏加快,僅年初就有7座萬達廣場被出售。(完) 【編輯:彭玉婷】
|
視頻更 多
28支龍獅隊齊集錦田爭奪“獅王”殊榮 龍獅隊員:十年後再來表演舞獅爭霸!
周潤發率“百歲”港星團跑馬拉松:重在完成,重在和觀眾打個招呼
樓市寒冬已過?現在是買樓好時機嗎?聽聽地產專家怎麼說
誰能成為下一個Labubu? 潮玩商家們為何集體聚焦盲盒發展?
香港立法會舉行首次會議 通過大埔火災後支援及重建工作議案
【你不知道的香港】高樓林立的香港正悄然進行一項“移山計劃”......
【通說環球】科幻照進現實?解碼中國“南天門計劃”
來論更 多評論更 多
論壇更 多閱讀排行
|










