首頁 -> 內地
萬達與王健林因合同糾紛被告分享到:
香港中通社10月16日電 據企查查APP,近日,中國法院公開海南萬駿管理服務有限公司起訴大連萬達集團股份有限公司、萬達地產集團有限公司、王健林合同糾紛案件開庭信息。公告顯示,該案件計劃將於11月3日在上海市第二中級人民法院開庭審理。
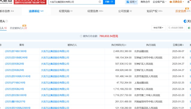
資料圖為萬達廣場。圖片來源:新華社 此前,中國執行信息公開網顯示,9月8日,大連萬達集團股份有限公司新增一則被執行人信息,執行標的4億餘元人民幣,執行法院為北京金融法院。 據公開資料,大連萬達集團股份有限公司成立於1992年9月,法定代表人為王健林,註冊資本10億元人民幣,經營範圍包括貨物進出口、技術進出口、中國國內一般貿易等。愛企查App風險信息顯示,該公司現存多條被執行人信息,被執行總金額超53億元人民幣,此外,該公司所持多家公司股權已被凍結。而萬達地產集團有限公司2023年4月已被法院首次列為失信被執行人。(完) 【編輯:彭玉婷】
|
視頻更 多
(全國兩會)如何解讀2026年政府工作報告的涉台內容?
北京行程滿滿 李家超回應中通社再提“主動對接”
通觀兩會|中國2023年以來首次下調經濟增速目標透露什麼訊息?
(全國兩會)對於國家的發展、香港的發展 代表委員有話說
(全國兩會)兩會開幕前北京降雪 人大代表:預示“十五五”開局好兆頭
通觀兩會|拆解外媒的兩會關注點 他們實際上想知道的是什麼?
通觀兩會|為什麼說兩會是世界觀察和讀懂中國的重要窗口?
來論更 多評論更 多
論壇更 多閱讀排行
|










